Каталог запасных частей к технике: МТЗ 92П. Баки топливные (металлические)

1
1
2
3
4
5
5
6
7
8
9
10
11
11
12
13
13
14
15
16
17
17
18
18
19
19
20
21
21
22
23
24
25
26
27
28
29
30
31
32
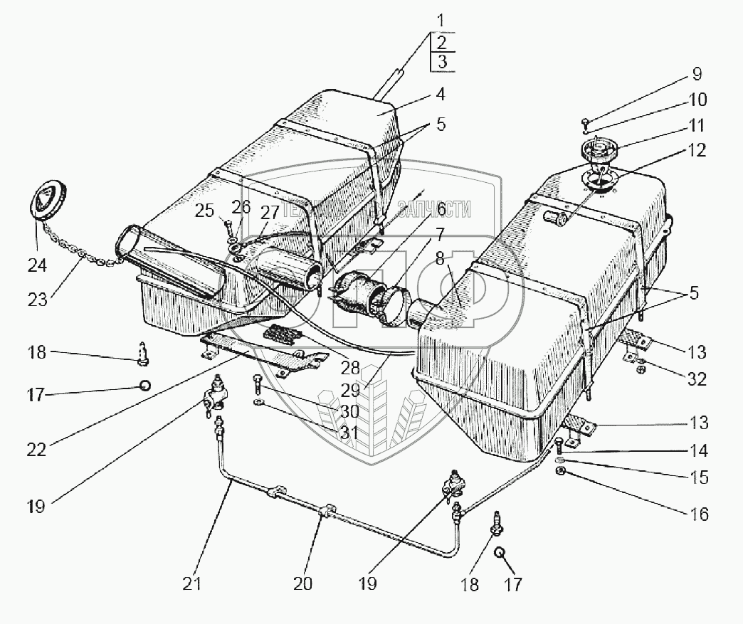
Позиция на иллюстрации | Заводской номер детали | Название детали | Цена | |
---|---|---|---|---|
70-1101005 | 70-1101005 | Баки | Нет на складе | |
1 | 920-1101240-05 | Топливопровод | Нет на складе | |
1 | 920П-1101240-05 | Топливопровод | Нет на складе | |
2 | Д18-051 | Болт | Нет на складе | |
3 | РМ14 | Шайба | Нет на складе | |
4 | 70-1101020 | Бак | 14 867.38 руб. | |
5 | 70-1101070 | Хомут | Нет на складе | |
6 | 70-1101035-Б | Рукав | Нет на складе | |
7 | ХС-66 | Хомут | Нет на складе | |
8 | 70-1101010 | Бак | Нет на складе | |
9 | В.М5-6gх16.58.019 | Винт | Нет на складе | |
10 | 80-1101067 | Шайба | Нет на складе | |
11 | ДУМП-21М | Датчик уровня топлива | Нет на складе | |
11 | АР70.3827-01 | Датчик указателя уровня топлива | Нет на складе | |
12 | 200-3806026 | Прокладка | Нет на складе | |
13 | 80-1101250-Б | Кронштейн правый | Нет на складе | |
14 | М10-6gх25.88.35.019 | Болт | Нет на складе | |
15 | Шайба10.ОТ | Шайба | Нет на складе | |
16 | М10-6Н.6.019 | Гайка | Нет на складе | |
17 | Шарик11,112-100 | Шарик | Нет на складе | |
18 | 822-1101081 | Штуцер | 101.51 руб. | |
19 | ПП6-1-О | Кран | Нет на складе | |
20 | 70-1101042 | Скоба | Нет на складе | |
21 | 920-1101210 | Топливопровод | Нет на складе | |
21 | 920П-1101210 | Топливопровод | Нет на складе | |
22 | 80-1101280-Б | Кронштейн левый | Нет на складе | |
23 | 36-1101070 | Цепочка | Нет на складе | |
24 | 082-1103010 | Пробка | 109.27 руб. - 600.07 руб. | |
25 | 36-1104787 | Болт | 53.35 руб. | |
26 | РМ10 | Шайба | Нет на складе | |
27 | 920-1101160-01 | Топливопровод | Нет на складе | |
28 | 80-1101012-Б | Прокладка | Нет на складе | |
29 | 85-1101002 | Трубка | Нет на складе | |
30 | М12-6gх30.88.35.019 | Болт | Нет на складе | |
31 | Шайба12.ОТ | Шайба | Нет на складе | |
32 | Шайба10Л | Шайба | Нет на складе |
Содержащиеся в справочниках-каталогах запасные части и детали не предлагаются к продаже, а носят исключительно информационный характер