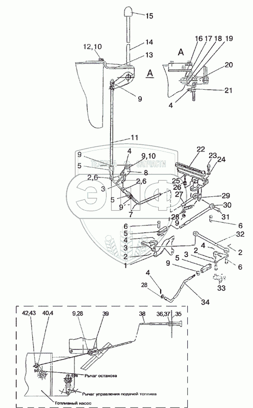
Каталог запасных частей к технике: МТЗ-826. Управление подачей топлива

1221-1108005
1
2
2
2
2
2
3
3
3
4
4
4
4
4
4
5
5
5
5
6
6
6
6
6
7
8
9
9
9
9
9
9
9
10
10
11
12
13
14
15
16
17
18
19
20
21
22
23
24
25
26
27
28
28
28
29
30
31
32
32
33
33
34
34
34
34
35
36
37
38
39
40
42
43
Позиция на иллюстрации | Заводской номер детали | Название детали | Цена | |
---|---|---|---|---|
1221-1108070 | 1221-1108070 | Тяга | Нет на складе | |
1221-1108005 | 1221-1108005 | Управление подачей топлива | Нет на складе | |
1221-1108080 | 1221-1108080 | Тяга | Нет на складе | |
1 | 80В-1108545 | Кронштейн | Нет на складе | |
2 | 2x12.019 | Шплинт | Нет на складе | |
3 | 80В-1108506 | Рычаг | 285.89 руб. | |
4 | 3,2x18.019 | Шплинт | Нет на складе | |
5 | 80В-1108542 | Наконечник тяги | Нет на складе | |
6 | 70-1601109-01 | Палец | 61.11 руб. | |
7 | 1221-1108029 | Тяга | Нет на складе | |
8 | 1221-1108045 | Кронштейн | Нет на складе | |
9 | М8-6Н.6.019 | Гайка | Нет на складе | |
10 | 8Т | Шайба | Нет на складе | |
11 | 1221-1108073 | Тяга | Нет на складе | |
12 | M8-6gx25.88.35.019 | Болт | Нет на складе | |
13 | 1221-1108020 | Кронштейн | Нет на складе | |
14 | 922-1108146 | Рукоятка | Нет на складе | |
15 | А13.11.00 | Рукоятка | Нет на складе | |
16 | М14x1,5-61-1.6.019 | Гайка | Нет на складе | |
17 | 80В-1108347 | Пружина тарельчатая | Нет на складе | |
18 | 80-1108178 | Шайба фрикционная | Нет на складе | |
19 | 822-1108028 | Шайба | Нет на складе | |
20 | 1221-1108035 | Валик | Нет на складе | |
21 | 70-1108317 | Бонка | 130.57 руб. | |
22 | А13.36.001 | Чехол | Нет на складе | |
23 | M10-6gx25.88.35.019 | Болт | Нет на складе | |
24 | 10 ОТ | Шайба | Нет на складе | |
25 | M6-6gx30.88.35.019 | Болт | Нет на складе | |
26 | М6-6Н.6.019 | Гайка | Нет на складе | |
27 | 70-4803019 | Пружина | Нет на складе | |
28 | С 8.01.019 | Шайба | Нет на складе | |
29 | 80В-1108510 | Педаль | 1 089.12 руб. | |
30 | 80В-1108526 | Тяга | Нет на складе | |
31 | 8x30 | Палец | Нет на складе | |
32 | 1220-1108344-А | Тяга | Нет на складе | |
32 | 80В-1108344-01 | Тяга | 973.76 руб. | |
33 | 800-1108530-А | Кронштейн | Нет на складе | |
33 | 80В-1108530 | Кронштейн | Нет на складе | |
34 | 1025-1108541-01 | Тяга | Нет на складе | |
34 | 80В-1108541 | Тяга | Нет на складе | |
34 | 1025-1108541-03 | Тяга | Нет на складе | |
34 | 1025-1108541-02 | Тяга | Нет на складе | |
35 | А30.04.017 | Колпачок | Нет на складе | |
36 | 6Т | Шайба | Нет на складе | |
37 | М6-6gx12.88.35.019 | Болт | Нет на складе | |
38 | 80-1108630-А-01 | Трос | Нет на складе | |
39 | 80-1108126 | Кронштейн | Нет на складе | |
40 | 80-1108317 | Бонка | Нет на складе | |
42 | 70-1310441 | Фиксатор | Нет на складе | |
43 | В.М4-6gx10.58.019 | Винт | Нет на складе |
Содержащиеся в справочниках-каталогах запасные части и детали не предлагаются к продаже, а носят исключительно информационный характер