Каталог запасных частей к технике: Атек-999Е. Переключатель хода

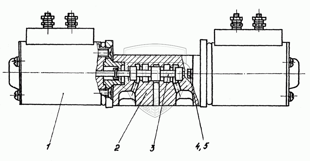
1
2
3
4
5
Позиция на иллюстрации | Заводской номер детали | Название детали | Цена | |
---|---|---|---|---|
1 | 27.1712.056 | Электромагнит с толкателем | Нет на складе | |
2 | 27.1712.036 | Переключатель хода | Нет на складе | |
3 | 27.1712.037 | Золотник переключателя хода | Нет на складе | |
4 | M6-6gх14 ОСТ 37.001.123-75 | Болт | Нет на складе | |
5 | 6Т65Г ОСТ 37.001.115-75 | Шайба | Нет на складе |
Содержащиеся в справочниках-каталогах запасные части и детали не предлагаются к продаже, а носят исключительно информационный характер