Каталог запасных частей к технике: Раскат ДУ-82. Силовая установка и топливная система

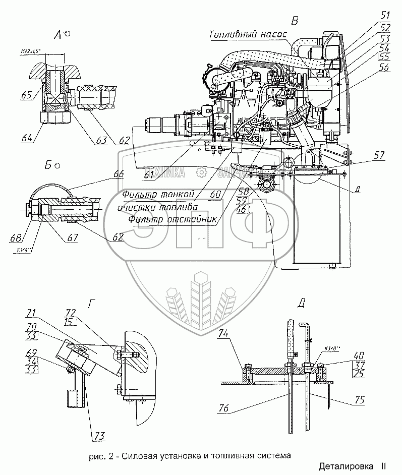
15
25
33
33
34
37
40
46
51
52
53
54
55
56
57
58
59
60
61
62
62
63
64
65
66
67
68
69
70
71
72
73
74
75
76
Позиция на иллюстрации | Заводской номер детали | Название детали | Цена | |
---|---|---|---|---|
15 | [Шайба 12.65Г.0121 ГОСТ6402] | Шайба 12.65Г.0121 ГОСТ6402 | Нет на складе | |
25 | [Шайба 8.65Г.0121 ГОСТ6402] | Шайба 8.65Г.0121 ГОСТ6402 | Нет на складе | |
33 | [Шайба 10.65Г.0121 ГОСТ6402] | Шайба 10.65Г.0121 ГОСТ6402 | Нет на складе | |
34 | [Шайба А10.02 Ст3.0121 ГОСТ11371] | Шайба А10.02 Ст3.0121 ГОСТ11371 | Нет на складе | |
37 | [Шайба А8.02.Ст3.0121 ГОСТ11371] | Шайба А8.02.Ст3.0121 ГОСТ11371 | Нет на складе | |
40 | [Болт М8-8gх30.58.019 ГОСТ7798] | Болт М8-8gх30.58.019 ГОСТ7798 | Нет на складе | |
46 | [Шайба 6.65Г.0121 ГОСТ6402] | Шайба 6.65Г.0121 ГОСТ6402 | Нет на складе | |
51 | [Хомут АВА NОVА 58-75] | Хомут АВА NОVА 58-75 | Нет на складе | |
52 | ДУ-82.320.635 | Втулка | Нет на складе | |
53 | [Бачок расширительный 2101-1311014] | Бачок расширительный 2101-1311014 | Нет на складе | |
54 | ДУ-82.320.690 | Кронштейн | Нет на складе | |
55 | [Пластина 2Н-1-МБС-С-2 ГОСТ7338 (L=28х500)] | Пластина 2Н-1-МБС-С-2 ГОСТ7338 (L=28х500) | Нет на складе | |
56 | [Горловина заливная ТМ178 G150] | Горловина заливная ТМ178 G150 | Нет на складе | |
57 | ДУ-82.320.760 | Крышка | Нет на складе | |
58 | ДУ-82.320.636 | Крышка | Нет на складе | |
59 | [Болт М6-8gх16.58.019 ГОСТ7798] | Болт М6-8gх16.58.019 ГОСТ7798 | Нет на складе | |
60 | [Рукав 16х25-1,6 ГОСТ10362 (L=1300мм)] | Рукав 16х25-1,6 ГОСТ10362 (L=1300мм) | Нет на складе | |
61 | ДУ-82.320.710 | Опора передняя | Нет на складе | |
62 | [Хомут АВА NОVА 19-28] | Хомут АВА NОVА 19-28 | Нет на складе | |
63 | ДМ-56.03.070-02 | Угольник | Нет на складе | |
64 | ДМ-55.05.014 | Болт | Нет на складе | |
65 | ДУ-52.01.03.308 | Прокладка | Нет на складе | |
66 | ДУ-58А.01.26.010 | Трос (L=270мм) | Нет на складе | |
67 | ДМ-56.04.008 | Ниппель | Нет на складе | |
68 | ДМ-56.12.005 | Пробка | Нет на складе | |
69 | [Гайка М10-7Н.5.019 ГОСТ5927] | Гайка М10-7Н.5.019 ГОСТ5927 | Нет на складе | |
70 | [Болт М10-8gх20.58.019 ГОСТ7798] | Болт М10-8gх20.58.019 ГОСТ7798 | Нет на складе | |
71 | ДУ-82.320.720 | Опора задняя левая | Нет на складе | |
72 | ДМ-20.01.004-05 | Болт | Нет на складе | |
73 | [Подушка виброгасящая ТFGВ 40/30 М10/23] | Подушка виброгасящая ТFGВ 40/30 М10/23 | Нет на складе | |
74 | ДУ-64.202.006 | Прокладка | Нет на складе | |
75 | ДМ-56.13.140-04 | Трубопровод | Нет на складе | |
76 | ДМ-56.13.140-01 | Трубопровод | Нет на складе |
Содержащиеся в справочниках-каталогах запасные части и детали не предлагаются к продаже, а носят исключительно информационный характер